|

一级汽水串联喷射泵
|

二级汽水串联喷射泵
|
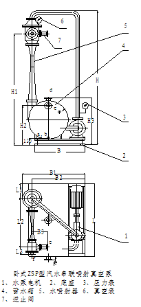
ZSP型一级汽水串联喷射泵
低位整机
新型换代专利新产品 (极限压强100Pa工作压强667Pa)
专利号:ZL98.2.38015.1
一、概述:
我公司研制的一级汽水串联喷射真空泵是在水喷射真空泵的基础上串联一级蒸汽喷射器,极限压强可达到100Pa,工作压强可达到667Pa,提高了喷射泵的高真空段的抽气量。一级汽水串联喷射真空泵是低位整机形式、安装使用非常方便,用户连接上工艺管线就可使用。它可以代替四级蒸汽喷射真空泵、滑阀和旋片真空泵,相对于四级蒸汽喷射真空泵可以节省蒸汽耗量60%,节约冷却水30%以上,相对于机械真空泵其节能效果也非常明显而且故障率、检修率非常低。

二、ZSP型一级汽水串联喷射真空泵的性能参数:
|
型号 |
压强Pa |
抽气量 |
蒸汽
耗量
kg/h |
蒸汽
压力
kgf/cm2 |
工作
水温
OC |
电机
功率
kw |
|
极限 |
工作 |
空气 |
蒸汽 |
|
ZSP(5/10)-5 |
100 |
667 |
5 |
10 |
80 |
3 |
35 |
7.5 |
|
ZSP(5/20)-5 |
100 |
667 |
5 |
20 |
100 |
3 |
35 |
7.5 |
|
ZSP(5/30)-5 |
100 |
667 |
5 |
30 |
150 |
3 |
35 |
15 |
|
ZSP(10/40)-5 |
100 |
667 |
10 |
40 |
200 |
3 |
35 |
15 |
三、ZSP
型一级汽水串联喷射真空泵外形尺寸表
|
型
号 |
外
形
尺
寸 |
管
径 |
|
H |
H1 |
H2 |
L |
L1 |
L3 |
B |
B1 |
B2 |
B3 |
a |
b |
c |
d |
e |
f |
g |
|
ZSP(5/10)-5 |
2130 |
1730 |
800 |
1100 |
400 |
180 |
1150 |
1250 |
1150 |
820 |
50 |
25 |
80 |
100 |
100 |
50 |
25 |
|
ZSP(5/20)-5 |
2130 |
1730 |
800 |
1100 |
400 |
180 |
1150 |
1250
|
1150 |
820 |
50 |
25 |
80 |
100 |
100 |
50 |
25 |
|
ZSP(5/30)-5 |
2560 |
2150 |
800 |
1100 |
500 |
180 |
1250 |
1350 |
1250 |
820 |
50 |
25 |
80 |
100 |
200 |
50 |
25 |
|
ZSP(10/40)-5 |
2430 |
2030 |
800 |
1100 |
500 |
180 |
1250 |
1350 |
1250 |
820 |
50 |
25 |
80 |
100 |
200 |
50 |
25 |
ⅡZSP型二级汽水串联喷射泵
低位整机
新型换代专利新产品
(极限压强20Pa工作压强267Pa)
专利号:ZL98.2.38015.1
一、概述:
我公司研制的二级汽水串联喷射真空泵是在水喷射真空泵的基础上串联两级蒸汽喷射器,极限压强可达到20Pa,工作压强可达到267Pa,提高了喷射泵的高真空段的抽气量。二级汽水串联喷射真空泵是低位整机形式、安装使用非常方便,用户连接上工艺管线就可使用。它可以代替四级蒸汽喷射真空泵、滑阀和旋片真空泵,相对于四级蒸汽喷射真空泵可以节省蒸汽耗量60%,节约冷却水30%以上,相对于机械真空泵其节能效果也非常明显而且故障率、检修率非常低。

二、ⅡZSP型二级汽水串联喷射真空泵的性能参数:
|
型号 |
压强Pa |
抽气量 |
蒸汽
耗量
kg/h |
蒸汽
压力
kgf/cm2 |
工作
水温
OC |
电机
功率
kw |
|
极限
Pa |
工作
Pa |
空气
kg/h |
蒸汽
kg/h |
|
ⅡZSP(5/10)-2 |
20 |
267 |
5 |
10 |
120 |
3 |
35 |
7.5 |
|
ⅡZSP(5/20)-2 |
20 |
267 |
5 |
20 |
200 |
3 |
35 |
7.5 |
|
ⅡZSP(5/30)-2 |
20 |
267 |
5 |
30 |
300 |
3 |
35 |
15 |
|
ⅡZSP(10/40)-2 |
20 |
267 |
10 |
40 |
380 |
3 |
35 |
15 |
三、ⅡZSP型二级汽水串联喷射真空泵外形尺寸表
|
型
号 |
外
形
尺
寸 |
管
径 |
|
H |
H1 |
H2 |
L |
L1 |
L3 |
B |
B1 |
B2 |
B3 |
a |
b |
c |
d |
e |
f |
g |
|
ⅡZSP(5/10)-2 |
2130 |
1730 |
800 |
1100 |
400 |
180 |
1150 |
1250 |
1150 |
820 |
50 |
25 |
80 |
100 |
100 |
50 |
25 |
|
ⅡZSP(5/20)-2 |
2130 |
1730 |
800 |
1100 |
400 |
180 |
1150 |
1250
|
1150 |
820 |
50 |
25 |
80 |
100 |
100 |
50 |
25 |
|
ⅡZSP(5/30)-2 |
2560 |
2150 |
800 |
1100 |
500 |
180 |
1250 |
1350 |
1250 |
820 |
50 |
25 |
80 |
100 |
200 |
50 |
25 |
|
ⅡZSP(10/40)-2 |
2430 |
2030 |
800 |
1100 |
500 |
180 |
1250 |
1350 |
1250 |
820 |
50 |
25 |
80 |
100 |
200 |
50 |
25 |
返回上一级
|